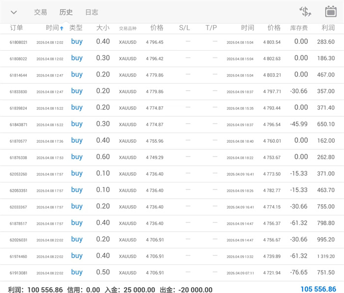
很多人做交易总陷入亏损,其实根源不在技术,而在太主观。总抱着自己的执念不肯放手,没法客观看清自己的能力边界,也认不清市场的真实走势,死不认输的固执,只会让亏损一次次重复,而非偶然失手,这也是绝大多数人交易失利的核心症结。以下为手动交易记录:

4.10黄金分析
周五亚盘,现货黄金交投于4760美元/盎司附近。金价周四小幅走高,主要受美元走弱支撑;市场一方面在评估美伊停火协议的持续性,另一方面也在谨慎等待今晚美国3月CPI数据公布。技术面上,金价维持高位震荡、反复拉锯,但整体上行趋势依旧偏强,日内依托4700关口支撑,仍看反弹延续。

以上内容仅为日内短线,进出场点位和止盈止损并非一成不变,盲目介入容易造成不必要的损失,更多现价策略布局,实盘中可获取!




李茉馨





