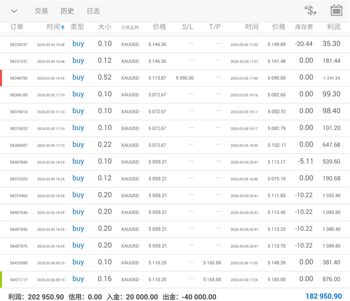
市场涨跌无常,震荡磨人,单边惊心,很多亏损并非源于行情,而是败给了自己的情绪。亏损时急于回本,盲目加仓;盈利时贪心不止盈,利润回吐;看不懂行情仍硬做,冲动入场。这些失控的瞬间,才是最大的风险。

3.9黄金
今日亚市早盘黄金迎来大幅回调,伦敦金快速下破5100美元关口,最低触及5015美元/盎司,随后企稳小幅反弹,当前交投于5090美元/盎司附近,整体呈现先抑后稳、偏弱震荡的格局。不过全球央行持续增持黄金,为金价构筑了长期底部支撑,且技术面存在修复需求,操作上依旧围绕支撑区间分批布局,目前长期上涨趋势仍存。

以上内容仅为日内短线,进出场点位和止盈止损并非一成不变,盲目介入容易造成不必要的损失,更多现价策略布局,实盘中可获取!




李茉馨





